上海注冊公司的環境越來越好了,注冊公司的步驟也簡化了不少,但是注冊公司仍不是一件容易的是,就光是公司注冊名稱就已經讓老板們絞盡腦汁了,好不容易想出個名字,最后卻因為跟同行已注冊的公司名稱音近似被駁回了。聰明的老板把注冊公司名稱的選擇放在了電視劇以及小說身上啦,名字好聽另外自帶宣傳效果,可是,上海公司注冊名稱可以用電視劇或者小說嗎?通過以上兩個例子可以看出,注冊公司名稱可以用電視劇名稱以及小說名的,不過,小編在這里點一句哈,電視劇也好,小說也好,這些都是有版權的,注冊之前查詢清楚,千萬不要侵犯到原有作者的版權問題哦。
上海注冊公司的環境越來越好了,注冊公司的步驟也簡化了不少,但是注冊公司仍不是一件容易的是,就光是公司注冊名稱就已經讓老板們絞盡腦汁了,好不容易想出個名字,最后卻因為跟同行已注冊的公司名稱音近似被駁回了。一個好的名字對于公司的日后的宣傳可以起到推波助瀾的效果。所以,聰明的老板把注冊公司名稱的選擇放在了電視劇以及小說身上啦,名字好聽另外自帶宣傳效果,可是,上海公司注冊名稱可以用電視劇或者小說嗎?不知道答案的朋友們一起往下看吧!

大家在下圖可以看到“同福客棧”(電視劇《武林外史》),在2012年就有人注冊了。

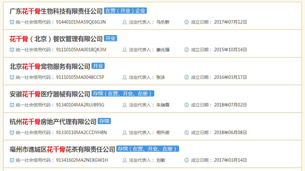
另外,小編在國家企業信用信息公示系統中,也找到了用花千骨命名的公司。

所以,通過以上兩個例子可以看出,注冊公司名稱可以用電視劇名稱以及小說名的,不過,小編在這里點一句哈,電視劇也好,小說也好,這些都是有版權的,注冊之前查詢清楚,千萬不要侵犯到原有作者的版權問題哦。上海注冊公司找,我們擁有一批經驗豐富的團隊,將為您提供貼心的一站式服務,讓您放心且無后顧之憂。我們都能給創業者最完善的服務和疑難解答,讓你盡可能地少走彎路。
? 上海鑫勵企業管理有限公司 版權所有 備案號:滬ICP備17051098號-1 網站地圖 推薦專題
地址:上海市浦東新區浦東南路1085號華申大廈1603室 1202室
免費電話:17717867637 徐經理